Per avere più abitabilità sulle BEV, Toyota sposta le batterie

Due brevetti Toyota del 2025 descrivono unità elettromeccaniche separate e nuove collocazioni per la batteria, con benefici su abitabilita, gestione termica, efficienza e sicurezza. Le idee sono promettenti ma non garantiscono produzione immediata

Per avere più abitabilità sulle BEV, Toyota sposta le batterie
G C
Giorgio Colari
Pubblicato il 9 feb 2026

Il mondo dell’auto elettrica è pronto a cambiare pelle grazie a una rivoluzione silenziosa ma potenzialmente dirompente. I brevetti depositati nel 2025 e svelati nel 2026 aprono un nuovo capitolo per Toyota, che sta riscrivendo le regole dell’architettura veicolare. Non più la classica disposizione che vede il pacco batteria come cuore centrale del veicolo, attorno a cui ruotano tutti gli altri elementi. La casa giapponese punta a una distribuzione strategica di unita elettromeccaniche lungo il telaio, con l’obiettivo di rivoluzionare la gestione degli spazi, migliorare l’abitabilità interna e incrementare sicurezza ed efficienza dei futuri modelli a zero emissioni.

Una nuova filosofia costruttiva

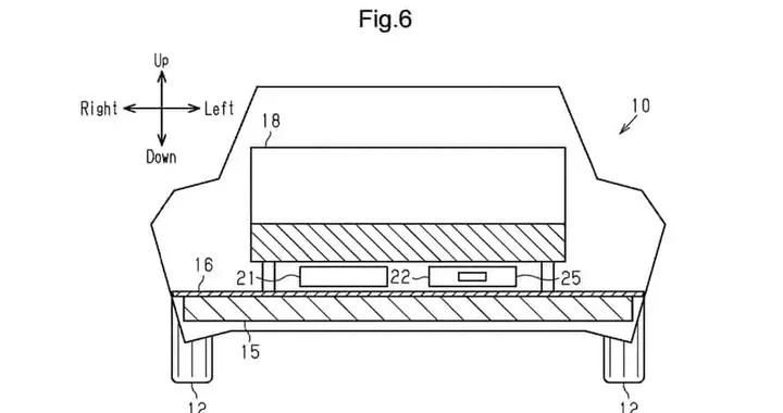
L’innovazione principale proposta da Toyota risiede nella frammentazione intelligente dei componenti. Invece di concentrare tutti i dispositivi in un’unica area, i brevetti suggeriscono di posizionare le unita elettromeccaniche – come inverter, centraline e moduli del motore elettrico – anteriormente o posteriormente rispetto al pacco batteria, oppure di integrarle nel tunnel centrale. Questa strategia consente di ridurre notevolmente lo spessore della batteria, permettendo di abbassare il tetto dell’auto e ridefinire gli spazi di carico e abitabilità.

La logica costruttiva adottata offre enormi vantaggi soprattutto per berline, hatchback e compatte, che potranno così beneficiare di una maggiore abitabilità senza sacrificare il comfort dei passeggeri né la versatilità del bagagliaio. L’adozione di questa architettura rappresenta un cambio di paradigma: non si tratta solo di migliorare le performance delle batterie, ma di ripensare la distribuzione e la sinergia tra tutti i sistemi che compongono un’auto elettrica.

Vantaggi concreti e nuove sfide

Separare le unita elettromeccaniche porta con sé una serie di benefici tangibili. Prima di tutto, una gestione termica più raffinata, grazie alla possibilità di controllare singolarmente il raffreddamento di ciascun modulo. Inoltre, la riduzione del cablaggio tra i vari componenti comporta un abbattimento del peso complessivo e delle perdite energetiche, elementi cruciali per aumentare l’efficienza generale del veicolo. Un ulteriore punto di forza è la migliore distribuzione delle masse, fondamentale per ottimizzare la dinamica di marcia e la stabilità in curva.

Questa modularità, inoltre, permette di adattare la piattaforma a diversi segmenti di mercato con maggiore flessibilità. Tuttavia, la nuova architettura introduce anche sfide tecniche significative. Spostare il peso verso la seconda fila di sedili o il tunnel centrale altera il baricentro e la distribuzione tra asse anteriore e posteriore, imponendo la necessità di rivedere profondamente sospensioni e telaio per mantenere la sicurezza e la precisione dello sterzo. Non meno importante, la protezione in caso di urto e l’integrazione elettronica diventano più complesse, richiedendo investimenti in ricerca e sviluppo.

L’esperienza e la ricerca di Toyota

Non è la prima volta che Toyota affronta sfide ingegneristiche di questa portata. Il costruttore giapponese ha già sperimentato soluzioni a doppio motore elettrico e proposte avveniristiche come la simulazione del cambio manuale su vetture elettriche, vista sulla Lexus UX. Questi precedenti testimoniano una lunga esperienza nella coordinazione tra meccanica ed elettronica. Un ruolo chiave in questa fase di sviluppo è affidato a Nanae Iwasaki, tra gli autori dei brevetti e già protagonista nel 2024 di studi avanzati sulla gestione intelligente della ricarica, calibrata in base alle temperature di motore e inverter.

Dai laboratori al mercato: prospettive future

È noto che non tutti i brevetti vedono una diretta applicazione industriale, ma le soluzioni presentate da Toyota tracciano una direzione chiara. La modularità delle piattaforme, l’aumento dell’efficienza energetica e lo sfruttamento ottimale dello spazio interno sono priorità evidenti. Se queste idee si tradurranno in modelli di serie, il mercato potrebbe presto accogliere auto più basse, compatte e con assetti dinamici personalizzati, in linea con le nuove possibilità offerte dalla disposizione dei componenti.

Reinventare l’auto nell’era elettrica

I brevetti illustrano una strategia lungimirante: il vero salto di qualità non si limita all’incremento delle prestazioni delle batteria, ma passa attraverso una revisione radicale dell’architettura veicolare. L’obiettivo è ottenere vantaggi concreti in termini di spazio, massa e integrazione tra i sistemi, ridefinendo il concetto stesso di automobile elettrica. Il successo dipenderà da quali di queste soluzioni troveranno posto sulle linee produttive, ma una cosa è certa: l’evoluzione verso l’elettrico offre l’opportunità di reinventare il modo in cui concepiamo e viviamo la mobilità.

Ti potrebbe interessare: