Tetto pieghevole di Mercedes, apertura senza montante per accesso totale

Mercedes Benz deposita un brevetto per un tetto pieghevole con cerniere multiple che elimina il montante laterale. Vantaggi per accessibilità, ma sfide tecniche, tenuta e costi potrebbero limitarne l'applicazione commerciale

Tetto pieghevole di Mercedes, apertura senza montante per accesso totale
G C
Giorgio Colari
Pubblicato il 18 mar 2026

Nel mondo dell’innovazione automobilistica, la sfida di rendere più agevole e confortevole l’accesso abitacolo rappresenta un terreno di costante sperimentazione. Tra i problemi storici che hanno impegnato ingegneri e designer, quello dell’ostacolo creato dal montante laterale si è spesso rivelato un limite difficile da superare, soprattutto nei segmenti di lusso e nelle vetture dedicate a servizi esclusivi. In questo scenario si inserisce il nuovo brevetto di Mercedes Benz, una soluzione che promette di rivoluzionare il concetto di apertura e ingresso in vettura grazie a un innovativo tetto pieghevole progettato con cerniere multiple.

Un nuovo paradigma nell’accessibilità

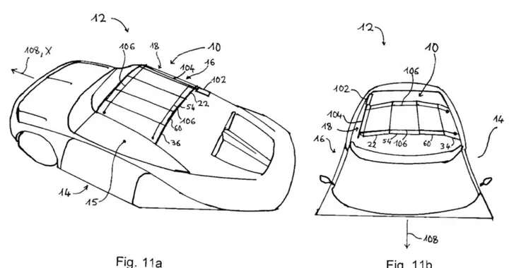
Il cuore della proposta depositata da Mercedes Benz risiede nella capacità di eliminare ogni ostacolo fisico durante la salita a bordo. Il sistema, basato su tre o quattro cerniere multiple articolate, consente ai pannelli del tetto pieghevole di ripiegarsi elegantemente su se stessi, garantendo un accesso abitacolo completamente libero da ingombri. In questo modo, si supera uno dei limiti più evidenti delle soluzioni attuali, offrendo un ingresso privo di impedimenti sia in altezza sia in larghezza, senza sacrificare l’estetica né la funzionalità.

Analisi delle soluzioni concorrenti

Per comprendere il valore aggiunto della proposta tedesca, è fondamentale confrontarla con quanto già presente sul mercato. Il marchio cinese HiPhi ha introdotto un sistema con pannelli articolati e cerniera centrale, mentre la britannica Rolls Royce 103EX ha sperimentato un grande pannello incernierato. Tuttavia, entrambe le soluzioni hanno mostrato dei limiti: nel caso di HiPhi, la barra centrale resta un ostacolo per chi desidera entrare con facilità, mentre il concept Rolls Royce 103EX genera problemi di spazio verticale, penalizzando l’ergonomia e l’agilità nei movimenti.

Il brevetto Mercedes Benz si distingue proprio per aver studiato a fondo queste criticità e aver ideato un meccanismo che, grazie alle cerniere multiple, permette al tetto pieghevole di ripiegarsi su se stesso, eliminando qualsiasi ostacolo all’accesso abitacolo. Il risultato è un varco d’ingresso ampio e libero, in grado di valorizzare sia il comfort sia la praticità d’uso.

Principio tecnico e varianti progettuali

Il funzionamento del sistema ruota attorno a giunti multipli che guidano i movimenti del tetto pieghevole durante l’apertura. Questa soluzione consente di mantenere un profilo basso, senza ingombri né all’interno né all’esterno dell’abitacolo. Il montante laterale cessa così di essere un vincolo, migliorando l’esperienza di ingresso per tutti gli occupanti. Il brevetto contempla anche varianti con la barra spostata lateralmente, ideali per vetture sportive o berlinette a due posti, dove l’accesso privilegiato da un solo lato rappresenta un plus distintivo.

Ambiti di applicazione e vantaggi pratici

Le potenzialità di questa innovazione sono ampie: dalle auto di lusso ai servizi di trasporto con autista, fino ai veicoli elettrici compatti a due posti, il nuovo tetto pieghevole offre vantaggi tangibili. Tra questi spiccano la facilità di salita e discesa, l’accessibilità migliorata per persone con mobilità ridotta e la compatibilità con interni che richiedono aperture ampie. Un ulteriore punto di forza è rappresentato dall’ingombro verticale ridotto, particolarmente utile nei parcheggi con altezza limitata.

Le sfide tecnologiche e produttive

Portare questa soluzione dalla fase di progetto alla produzione di serie non è privo di ostacoli. I pannelli devono assicurare una perfetta tenuta ermetica, isolamento acustico e stabilità geometrica nel tempo, caratteristiche che richiedono tolleranze di montaggio estremamente precise. I materiali e le cerniere multiple devono resistere a numerosi cicli di apertura e chiusura senza compromessi sulla sicurezza e sull’affidabilità. Tutto ciò comporta costi di sviluppo e produzione elevati, che potrebbero confinare la tecnologia ai segmenti premium o a specifiche nicchie di mercato.

Dalla teoria alla realtà: prospettive future

Sebbene molti brevetti automobilistici restino sulla carta, la soluzione Mercedes Benz si distingue per il rigore dell’analisi e per la volontà di superare limiti già noti, anziché proporre semplici esercizi di stile. Questo approccio aumenta le probabilità di vedere il tetto pieghevole evolvere in prototipi concreti e, forse, in modelli di serie. Restano da verificare la durata nel tempo, l’impatto sul peso complessivo e l’integrazione con i sistemi di sicurezza passiva e attiva, ma la strada tracciata appare promettente.

Mercedes Benz riafferma il proprio ruolo di pioniere nell’innovazione, affrontando una delle questioni più sentite dell’industria automobilistica: eliminare ogni ostacolo all’accesso abitacolo senza compromessi su funzionalità, design ed efficienza. Un passo avanti che potrebbe segnare un nuovo standard per il futuro della mobilità di alta gamma.

Ti potrebbe interessare: